MO:DCA-P
Components of AFP printing
- Two strategic AFP data streams are key components of the architected AFP printing solution:
Mixed Object Document Content Architecture for Presentation (MO:DCA-P) data stream is the application data stream through which applications can describe pages that are composed of text, images, and graphics data. MO:DCA-P is a subset of MO:DCA and is device independent; therefore, applications that produce this data stream can be directed to any of the printers that are supported by the AFP system or to graphical personal computer displays for viewing. These IBM products are examples of applications that generate MO:DCA-P:
- AFP Toolbox produces documents with extended formatting capabilities.
-
Document Composition Facility (DCF) is a host-based publishing product that produces high-quality, complex documents.
-
In addition, many independent software vendor products generate MO:DCA-P output. For links to companies that provide support for AFP, go to the AFP Consortium web page at http://www.afpcinc.org.
- Intelligent Printer Data Stream (IPDS) is the printer device data stream that contains the information necessary to identify, monitor, and control the printer's functions. IPDS enables a two-way dialog between the printer and the printer driver to create a cooperative print management system. IPDS is device-dependent and is unique for each printer. PSF is the glue between the application and the printer. PSF accepts MO:DCA-P, line data, and Extensible Markup Language (XML) data streams and converts them into IPDS for each AFP printer it manages. Because MO:DCA-P and IPDS are part of the same architecture, this process is efficient for applications that produce MO:DCA-P. PSF products are supported under z/OS®, VM, VSE, IBM i, AIX®, Windows, and Linux operating systems. PSF has similar capabilities in all environments, plus differences unique to the operating system on which it is running. Table 1 shows the AFP operating systems and the PSF products they support.
Table 1. AFP operating systems and corresponding PSF products
Operating System PSF Product z/OS PSF for z/OS VM PSF/VM VSE PSF/VSE IBM i PSF for IBM i AIX Infoprint Manager for AIX
Ricoh ProcessDirector for AIXWindows InfoPrint Manager for Windows
Ricoh ProcessDirector for WindowsLinux InfoPrint Manager for Linux
Ricoh ProcessDirector for Linux
- Intelligent Printer Data Stream (IPDS) is the printer device data stream that contains the information necessary to identify, monitor, and control the printer's functions. IPDS enables a two-way dialog between the printer and the printer driver to create a cooperative print management system. IPDS is device-dependent and is unique for each printer. PSF is the glue between the application and the printer. PSF accepts MO:DCA-P, line data, and Extensible Markup Language (XML) data streams and converts them into IPDS for each AFP printer it manages. Because MO:DCA-P and IPDS are part of the same architecture, this process is efficient for applications that produce MO:DCA-P. PSF products are supported under z/OS®, VM, VSE, IBM i, AIX®, Windows, and Linux operating systems. PSF has similar capabilities in all environments, plus differences unique to the operating system on which it is running. Table 1 shows the AFP operating systems and the PSF products they support.
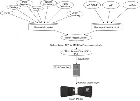
The PSF printer-driver program processes data streams from the Job Entry Subsystem (JES) spool, combines the data streams with resources needed to print the data, converts the data into IPDS, and sends the result to the printer. Figure 2. Components that are required to print data on AFP printers
Figure 2 Shows the basic components that are required to print data on AFP printers in a z/OS environment.

Data streams
These data streams are placed on the JES spool:
- Line data
Application data that is prepared for printing, without any data placement or presentation information. Line data can be traditional, which is prepared for printing on a line printer, such as a 6262 or 3211, or record format, where each record is preceded by a 10-byte identifier. For printing on page printers, a page definition is required to provide the data placement and presentation information. - MO:DCA-P
Data that is already composed into pages, including data placement and presentation information (such as which font to use). PSF accepts MO:DCA Presentation Interchange Set (IS) data streams, including the newest interchange set, MO:DCA IS/3. While providing interoperability among AFP products that are MO:DCA IS/3 compliant, MO:DCA IS/3 also provides enhanced functions, including support for color and the latest fonts, images, and graphics. For more information, see Mixed Object Document Content Architecture Reference, AFPC-0004. - XML
Data that is identified by using XML standards from the World Wide Web Consortium. XML does not describe data placement or presentation information. For printing on page printers, a page definition is required to provide the data placement and presentation information. The XML data that is processed by PSF can be encoded in EBCDIC, ASCII, UTF-8, or UTF-16. PSF produces this data stream: IPDS Data sent to the printer that contains the controls that define how the data is to be presented.
Resources
These resources are needed to print the data:
- Fonts
Graphics characters of a specific style that are used to present text. - Overlays
Predefined data objects (such as boxes, lines, shading, text, logos, bar codes, and graphics) that can be merged with application data for presentation. Overlays are often used as electronic forms. - Page segments
Image, graphics, and bar code data objects that can be presented at any location on a page. Examples of items that can be page segments include logos, signatures, bar charts, and engineering drawings. - Form definitions
Information that defines the presentation of the page on the medium, such as where the page is placed on the medium and whether the data is printed on one or both sides of the paper. - Page definitions
Information that formats line data or XML data into AFP pages. Object containers A MO:DCA structure that carries object data. An example is an encapsulated PostScript (EPS) object container.
